上海甘澜材料科技有限公司
地址:上海市崇明区长兴镇潘园公路2528号B幢1639室
电话:4000-177-739
GLLD600 系列雷达物位计
1 产品概述
1.1 最佳物位测量解决方案
GLLD600 系列雷达物位计是一款采用脉冲原理非接触式雷达物位计,可广泛 应用于测量液体、浆料及粘稠物等的距离、物位、体积、重量及明渠流量,也可用于测量粉末、颗粒、块状等固体介质。即使在多粉尘、有搅拌的应用场合中, 也可以稳定测量。
1.2 测量原理
雷达物位计通过天线发射极窄且能量很低的微波脉冲信号,这个脉冲信号以 光速在空间传输,遇到被测介质发生反射,反射信号被仪表接收,发射脉冲信号 与接收脉冲信号的时间间隔与基准面到被测介质表面的距离成正比,通过测量发
射与接收的时间间隔,来实现天线至介质表 面距离的测量。
①时间 1:产生初始脉冲
②时间 2:沿喇叭天线向下行进,速度 C
(光速)
③时间 3:脉冲遇到介质表面发生反射
④时间 4:反射脉冲被接收并被处理器记录
⑤脉冲信号从被发射到被接收之间的时间差 T,与基准面到介质表面的距离 D 成正比: D=C×T/2
⑥测量的基准面是: 螺纹底面或法兰的密 封面
⑦ A:量程 B:低位 C:满位 D:盲区
⑧运行时,保证最高料位不能进入测量盲区
D
图 1 测量原理示意图
1.3 技术优势
? 采用高达 26GHz 的发射频率
? 高频率与信噪比,是低介电常数介质的最佳选择
? 波束角小,能量集中,具有更强抗干扰能力,大大提高了测量精度与可靠性
? 测量盲区更小,对于小罐测量也会取得优异效果
? 波长更短,对于小颗粒介质与倾斜的介质表面的物位测量效果更好
? 测量灵敏、刷新速度快、天线尺寸小、安装简便、牢固耐用、免维护
? 非接触式测量,无磨损,无污染,可测量液体,固体介质的物位
? 几乎不受温度、压力、水蒸汽、泡沫、粉尘等复杂工况的影响
? 采用两线制回路供电的技术,供电电压和输出信号通过一根两芯电缆传输,节省成本
? 采用先进微处理器和独特回波处理技术,可适用于各种复杂工况
? 发射功率极低,可安装于各种金属、非金属容器内,对人体环境均无伤害
? 带有按键的显示屏可方便设置仪表的参数
1.4 可应用的行业

? 化工与石化 ? 电力 ? 钢铁及冶金 ? 矿产 ? 造纸及纸浆 ? 水及污水
? 食品与饮料 ? 制药 ? 其他可应用的工况

|
? 中间料仓 ? 储仓 |
? 料斗 |
储藏 |
|
? 过程罐 ? 搅拌罐 |
? 其他 |
2 产品简介
u
GLLD604
应 用:各种强腐蚀性液体 频率范围: 26GHz 测量范围: 0-10m
精 度: ±5mm 介质温度: -40...120℃ 过程压力: -0.1...0.3Mpa 过程连接: 螺纹、法兰
防爆等级: Exia II CT6;Exd II CT6
防护等级: IP67
信号输出: 4...20mA/HART(两线/四线) RS485/Modbus
u
GLLD605
应 用: 耐温、耐压、轻微腐蚀的液体 频率范围: 26GHz
测量范围: 0-30m
精 度: ±3mm 介质温度: -40...250℃ 过程压力: -0.1...4.0Mpa 过程连接: 螺纹、法兰
防爆等级: Exia II CT6;Exd II CT6
防护等级: IP67
信号输出: 4...20mA/HART(两线/四线) RS485/Modbus
应 用: 固体料位、过程容器、强粉尘、易结晶、结露场合
频率范围: 26GHz
测量范围: 0-70m
精 度: ±15mm 介质温度: -40...250℃ 过程压力: -0.1...4.0Mpa 过程连接: 螺纹、法兰
防爆等级: Exia II CT6;Exd II CT6
防护等级: IP67
信号输出: 4...20mA/HART(两线/四线) RS485/Modbus
u
GLLD607
应 用: 固体料位、过程容器、强粉尘、易结晶、结露场合
频率范围: 26GHz 测量范围: 0-70m 精 度: ±15mm
介质温度: -40...250℃
过程压力: -0.1...4.0Mpa
过程连接: 螺纹、法兰
防爆等级: Exia II CT6;Exd II CT6
防护等级: IP67
信号输出: 4...20mA/HART(两线/四线) RS485/Modbus
应 用: 固体颗粒、粉尘频率范围: 26GHz 测量范围: 0-30m
精 度: ±10mm 介质温度: -40...250℃ 过程压力: -0.1...4.0Mpa 过程连接: 螺纹、法兰
防爆等级: Exia II CT6;Exd II CT6
防护等级: IP67
信号输出: 4...20mA/HART(两线/四线) RS485/Modbus
u
GLLD609
应 用: 卫生型液体存储容器、强腐 蚀性液体容器
频率范围: 26GHz
测量范围: 0-20m
精 度: ±3mm 介质温度: -40...150℃ 过程压力: 常压 过程连接: 法兰
防爆等级: Exia II CT6;Exd II CT6
防护等级: IP67
信号输出: 4...20mA/HART(两线/四线) RS485/Modbus
3 技术规格
3.1 技术参数
? 以下所给出的技术参数用于通用性的应用场合,如需特殊应用场合的相关技术参数,请联系制造商。
3.2 特征参数
|
构造 |
整个测量系统由传感器(即天线)和信号转换器组成,只有一体型 结构 | |
|
测量原理 |
K 波段 26GHz 脉冲原理 | |
|
可测介质 |
固体、液体 | |
|
基本测量值 |
发射波和反射波的时间差 | |
|
附加测量值 |
物位、距离、体积、重量及明渠流量 | |
|
盲区 |
天线末端 0.3m 以内 | |
|
最大量程 |
GLLD604 20m(液体型) GLLD605 30m(液体型) GLLD606 70m(固体型) |
GLLD607 70m(固体型) GLLD608 30m(固体型) GLLD609 20m(液体型) |
|
最大量程取决于天线的类型和尺寸,以及被测介质的相对介质常数 及安装条件等,具体请咨询制造商 | ||
|
被测介质的相 对介电常数(ε r) |
≥ 1.5 | |
|
精度 |
见精度示意图(精度指标的参比条件遵照 JJG971-2002 标准,见下 页表) | |
|
波束角 |
见精度示意图(取决于天线尺寸) | |
|
重复性 |
±1mm | |
|
防爆等级 |
Exia II CT6;Exd II BT4; | |
|
防护等级 |
IP67 | |
|
阻尼时间 |
默认 1s(可调整) | |
|
最大物位变化 |
10 m ? min | |
|
显示 |
液晶显示(中文,英语,德语),带 4 个按键 | |
|
显示工作温度 |
-20℃...+70℃(超过此温度范围时,液晶显示可能会损坏) | |
|
显示分辨率 |
1mm | |
|
运输及储存温 度 |
-40℃...100℃ | |
|
环境温度及湿 度 |
-40℃...+80℃(根据工业产品元器件温度标准) | |
|
相对湿度 |
<95% |
|
过程温度及压 力 (过程连接 处) |
GLLD604 -40℃...200℃ -0.1...2.5Mpa GLLD605 -40℃...250℃ -0.1...4.0Mpa GLLD606 -40℃...250℃ -0.1...4.0Mpa GLLD607 -40℃...250℃ -0.1...4.0Mpa GLLD608 -40℃...250℃ -0.1...4.0Mpa GLLD609 -40℃...200℃ 一个标准大气压 |
|
具体取决于过程连接处同时存在的温度及压力等级 | |
|
热冲击耐受 |
<40℃/s |
|
耐振 |
机械震动 l0m/s2 , (10~150)Hz |
过程连接
|
过程连接尺寸 |
过程连接开孔尺寸需大于天线下端直径的尺寸 如果过程连接小于天线的尺寸,可以: - 将天线从仪表上拆下后,从容器内部安装 - 将仪表安装在单独平板上以适应更大的过程连接 |
|
螺纹连接 |
Gl?A l?NPT |
|
法兰连接 |
DN50-DN250,PN16/PN40 或咨询制造商 |
电气连接
|
供电电压 |
二线制 标准型:(16...26)V DC 本安型:(21.6...26.4)V DC 功耗 max 22. 5mA / 1W 允许纹波 <100Hz Uss<lV (100...100K)Hz Uss<l0mV |
|
四线制 本安+隔爆:(22.8...26.4)V DC / (198...242)V AC 功耗 max 1VA / 1W | |
|
电气接口 |
1 个 M20*1.5 或?NPT 电缆密封头 1 个盲堵 |
|
标配材质:塑料 可选材质:不锈钢 304 | |
|
电缆规格 |
(0.5…1.5 )mm2 |
输出参数
|
输出信号 |
4...20mA;HART(两线/四线);RS485;Modbus; |
|
电流分辨率 |
± 3uA |
|
通讯协议 |
HART;I2C; |
|
温度漂移 |
10ppm /℃ |
|
故障信号 |
电流输出不变(默认) ;22 mA ;20.5mA;3.9 mA ; |
精度指标的参比条件遵照 JJG971-2002 标准
|
温度 |
+20℃±5℃ |
|
压力 |
1 个标准大气压 |
|
相对湿度 |
60%±15% |
|
被测目标体 |
摆放在消音暗室的金属圆盘 |
仪表材质
|
仪表外壳 |
铝 |
|
外壳视窗 |
钢化玻璃 |
|
天线 |
不锈钢 316L |
|
过程连接 |
不锈钢 316L |
|
O 型圈 |
氟硅胶 |
|
散热片 |
铝;不锈钢 316L; |
仪表重量(具体取决于过程连接和外壳)
|
型号 |
GLLD604 |
GLLD605 |
GLLD606 |
GLLD607 |
GLLD608 |
GLLD609 |
|
重量 |
1KG |
2KG |
6KG |
7KG |
2KG |
3KG |
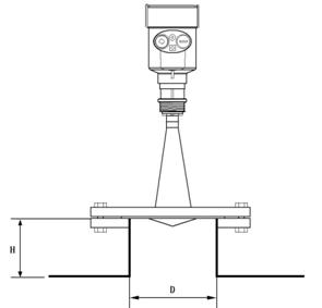
精度示意图
? GLLD604 波束角 22°

? GLLD605 天线尺寸 波束角 φ46mm 18°
φ76mm 12°
φ96mm 8°
φ121mm 6°

? GLLD606 天线尺寸 波束角 φ46mm 18°
φ76mm 12°
φ96mm 8°
φ121mm 6°

? GLLD607 天线尺寸 波束角
φ196mm 4°
φ242mm 4°

? GLLD608 天线尺寸 波束角 φ76mm 12°
φ96mm 8°
φ121mm 6°

? GLLD609 天线尺寸 波束角 φ46mm 18°
φ76mm 12°
φ96mm 8°

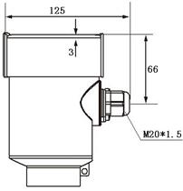
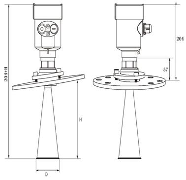
4 产品尺寸(单位:mm)
外壳尺寸


u
GLLD604
SHAPE \* MERGEFORMAT

u GLLD606
SHAPE \* MERGEFORMAT

u GLLD608
SHAPE \* MERGEFORMAT

SHAPE \* MERGEFORMAT
法兰参数
SHAPE \* MERGEFORMAT
SHAPE \* MERGEFORMAT

5 安装
5.1 安装前准备
请注意以下事项,以确保仪表能正确安装:
? 请确保在过程连接的正下方没有任何干扰体存在!否则将导致测量错误!
? 请预留足够的安装空间!
? 请避免对信号转换器的强烈日照,如有必要,请安装防护罩!
? 请避免强烈震动的安装场合!
? 可以在同一容器上安装多台 GLLD600 系列雷达物位计!
? 为确保快速、便利及安全地安装本仪表,请遵照以下的安装指导!
5.2 安装指导
为避免测量错误及仪表故障,请遵照以下注意事项!
5.3 基本要求 天线发射微波脉冲时,都有一定发射角。从螺纹或法兰下边缘到被测介质表面之间,微波发射角所辐射的区域内,不得有障碍物。因此安装时应尽可能避开罐内设施,如:人梯、 限位开关、加热设备、支架等。必要时,须在空罐时进行“虚假回波学习”。另外须注意微波发射角度辐射区域不得与加料料流相交。安装仪表时还要注意:最高料位不得进入仪 表的测量盲区,仪表距罐壁必须保持一定的距离,仪表的安装尽可能使天线的发射方向与被测介质表面垂直。安装在防爆区域内的仪表必须遵守国家防爆危险区的安装规定。防爆 型仪表的外壳采用的是压铸铝材质。防爆型仪表安装在有防爆要求的场合时,仪表必须接大地。
|

5.4 推荐的安装位置
拱/圆顶罐
安装在直径的 1/4 处或 1/6 处 注:距离罐壁最小保持 200mm 的水平距离
注:①基准面
②容器中央或对称轴
锥底罐
对于锥型容器,且平面罐顶,仪表的最佳安装位置是罐顶正中间,这样可 保证测量到容器底部。
有堆料的储罐
由于倾斜的固体表面会造成回波衰减,甚 至丢失信号的问题,天线要垂直对准料面, 若料面不平,堆角大推荐使用万向法兰,
来
调整喇叭角度,使喇叭尽量对准料面 。
5.5 典型的安装错误
说明:请务必避开入料料流的上方,如果 入料能直接接触天线或进入天线正下方的 区域,将导致测量错误。同时注意,室外 安装时应采取遮阳、防雨措施。
①正确
②错误
说明:仪表被安装在拱形或圆形灌顶,会造成多次反射回波,在安装时尽可能避免。
①正确
②错误
说明:当罐中有障碍物影响测量时,要加装反射板才能正常测量。反射板 可以把障碍信号折射走。必要时应进行“虚假回波学习”。
①正确
②错误
导波管或旁通管中的测量
使用导波管或旁通管安装,可以避免容器内障碍物、泡沫、液体表面波动大对测量的影响。
对于以下场合,推荐使用导波管或旁通管
? 有导电性的泡沫存在
? 液面波动剧烈
? 安装位置处有太多障碍物存在
? 测量内浮顶罐中的液体(如石油化工行业种的某些介质)
? 介电常数过小的介质注:粘稠的介质不能用导波管或旁通管来进行测量

对导波管或旁通管的要求
? 导波管或旁通管必须为导体
? 导波管或旁通管的内径不得小于 50mm
? 导波管或旁通管必须竖直
? 导波管或旁通管须内壁光滑,避免大的焊缝和裂缝,粗糙度必须优于 ±0.1 mm
? 导波管或旁通管内径不允许突变,如有突变需小于 1 mm
? 导波管底部必须开口
? 导波管安装时须在液位可能到达的最高处以上开一个等压孔,等压孔直径(5~10) mm
? 当罐内有多种混合液体介质时,多个导流孔/管有利于液体在罐内和管中自由流动
? 当罐内有多种混合液体介质时,多个导流孔/管的间距须小于最小分层厚
? 旁通管安装时顶部等压管位置需高于罐内液体可能到达的最高处
? 旁通管安装时底部导流管位置需低于罐内液位可能到达的最低处。
如需测量浮顶罐或内浮顶罐中的液位,请将仪表安装于导波管中。
①沉淀物
②导波管支架
③导波管
④浮顶
⑤介质
⑥罐体
卧罐中的测量
如需测量卧罐罐中的液位,请将仪表安装于导波管中。
①如在卧罐中,被测介质的相对介电常数较高,且不使用导波管时;请避免将 本产品安装于卧罐的中心位置,否则多重反射所引起的干扰将影响正常测量。
②安装于卧罐中的导波管内可确保正确测量
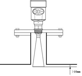
5.7 容器的接管高度
接管高度要求: 必须保证天线末端伸入到罐里至少 10mm 的距离


SHAPE \* MERGEFORMAT

5.8 过程连接的安装
法兰安装所需工具 螺纹安装所需工具
? 垫片(请自备) ? Gl?A l?NPT 螺纹连接的垫片(请自备)
? 扳手(请自备) ? 50 mm / 2” 扳手(请自备)
? 螺栓(请自备)
6 电气安装
6.1 安全指导
? 所有的电气连接工作必须在断电的条件下进行,请注意遵循仪表铭牌上的指导!
? 请遵守当地电气安装规程的要求!
? 请遵守当地对人员健康和安全的规程要求,所有对仪表电气部件的操作必须由经过正规培训的专业人员完成!
? 请检查仪表的铭牌以确保提供的产品规格符合您的要求。请确保所供电源电压与仪表铭牌上的要求一致!
6.2 电缆选择
|
一般介绍 |
? 电缆外径:5…9mm(M20×1. 5)(确保电缆入口密封) ? 电缆外径:3. 5mm…8.7mm(?NPT)(确保电缆入口密 封) ? 接线一般采用两芯或四芯的电缆 ? 如存在电磁干扰,建议使用带屏蔽层的电缆线 |
|
(4~20) mA/HART(两线 制) 电缆线要求 |
? 供电电源和输出电流信号共用一根的两芯电缆线 ? 具体供电电压范围参见仪表铭牌上的技术数据 ? 对于本安型须在供电电源与仪表之间加一个安全栅 |
|
(4~20) mA/HART(四线 制) 电缆线要求 |
? 供电电源和电流信号分开,各自分别使用一根两芯电缆线 ? 具体供电电压范围参见仪表铭牌上的技术数据 |
|
RS485/Modbus 电缆要求 |
? 供电电源和 RS485/Modbus 信号线各自分别使用一根两芯 和三芯电缆线 ? 具体供电电压范围参见仪表铭牌上的技术数据 |
|
带屏蔽层的电缆线 |
? 带屏蔽层的电缆线两端均应接地 ? 在传感器内部,屏蔽必须直接连接内部接地端子上 ? 外壳上的接地端子必须接大地 ? 如有接地电流,屏蔽电缆线原理仪表一侧的屏蔽端必须通过 一个陶瓷电容(如:1nF/1500V)接地,以起到隔直和旁路 高频干扰信号的作用 |
6.3 电气安装
两线制接线图如下:
①电源线和信号线
②内部接地端子
③显示调节接线端子
四线制接线图如下:
①电源线
②内部接地端子
③显示调节接线端子
④信号线
RS485/Modbus 接线图如下:
①电源线
②内部接地端子
③显示调节接线端子
④信号线
6.4 防爆区连接
本产品的防爆形式为本质安全型和隔爆型。防爆型仪表采用铝质外壳,电子部件采用胶封结构,从而确保电路发生故障时产生的火花不会泄放出来。
本安型防爆接线(Exia II CT6)

隔爆型防爆接线(Exd II CT6)

7 防护等级
本仪表完全满足防护等级 IP66/67 的要求,请确保电缆密封头的防水性。如下图:

如何确保安装满足 IP67 的要求:
? 请确保密封头未受损
? 请确保电缆未受损
? 请确保所使用的电缆符合电气连接规范的要求
? 在进入电气接口前,将电缆向下弯曲,以确保水不会流入壳体,见①
? 请拧紧电缆密封头,见②
? 请将未使用的电气接口用盲堵堵紧,见③
8 仪表调试
建议在空罐的情况下进行仪表的调试。
8.1 调试方法
GLLD60 系列仪表有三种调试方法:
1、显示/按键调试
2、上位机调试
3、HART 手持编程器调试
1、显示/按键调试
通过显示屏幕上的 4 个按键对仪表进行调试。调试后,一般就只用于显示,透过玻璃视窗可以非常清楚地读出测量值。
① 液晶显示
② 按键

2、上位机调试
通过 HART 与上位机相连 也可通过 I 2C 与上位机相连
① RS232 或 USB 接口
② 仪表
③ HART 适配器
④ HART 用 250Ω电阻
3、通用 HART 手持编程器调试
可用 HART 手持编程器编程进行调试
① HART 手持编程器
② 仪表
③ HATR 用 250Ω电阻
9 型号对照表
GLLD609

联系我们
地址:上海市崇明区长兴镇潘园公路2528号B幢1639室
电话:4000177739
网址: www.sh-ganlan.com



